side_banner.gif (4871 bytes)

                       

 DC AMMETER SHORT SHUNT (2/3)

Application: Use with a DC Ammeter with 50mV 

 To extend the DC current measuring range from 200A to 500A..

* Not used for continuous current loading

Accuracy: 1.0% of rated value.

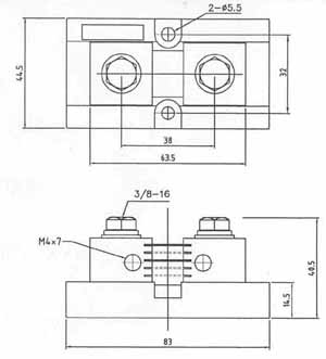
DIMENSIONS (Unit : mm)

for

200A/50mV, 300A/50mV, 400A/50mV, 500A/50mV

STANDARD  |   50A-150A/50mV   |   200A-500A/50mV |  400A-600A/60mV   |

HEW3.jpg (37947 bytes)

Send an E-mail to herrong@ms4.hinet.net,with any question and comment to this web site.

COPYRIGHT © 1997-2001 HER RONG ELECTRIC WORKS CO., LTD.

LAST UPDATE :2010/03/17                     IT Manager: Mr. C.K. Hsieh